您好,欢迎访问本站博客!登录后台查看权限
  • 如果您觉得本站非常有看点,那么赶紧使用Ctrl+D 收藏吧
  • 网站所有资源均来自网络,如有侵权请联系站长删除!

手机在网状态和手机在网时长有哪些不同?

CF排位号 admin 2025-11-10 15:04 1 次浏览 0个评论
网站分享代码

在金融机构、汽车租赁等众多行业,为了解用户情况以达到精准风控检验。通常会对用户手机正常应用时长进行查询,毕竟,用户手机实时状态情况对金融租赁审核非常重要。而手机在网时长查询的接口主要适用于网络金融,汽车租赁等都需要通过对用户的手机号码使用情况的时间长短来进行风险评估。

手机在网时长查询是指查询用户手机卡开通到现在使用的时间。而手机在网时长查询API接口则是指通过接入api的实时数据对客户的手机号码开展在网状时长查询。

89e7518fa4ae15244314df53e7aeff49.png

手机在网时长查询和手机在网状态查询的区别

另一种和手机在网时长查询类似的接口就有手机在网状态查询。两者功能比较相似,其实不然,尤其是应用场景区别非常大。手机在网状态查询api查询的是实时的数据,时效性好,但价格不菲,适合金融机构对用户进行精准风控核验,毕竟用户手机号码实时状态是金融审核非常重要。而手机在网时长查询接口主要适用于互联网金融、汽车租赁等需要通过对用户手机号码使用时间长短来评估风险,一般用于挑选有营销价值的活跃号码进行电话营销。因此,手机在网状态和手机在网时长是有很大的区别。

API接口简介:

查询手机号在网状态,返回正常使用、停机、未启用/在网但不可用、不在网(销号/未启用/异常)、预销户等多种状态直连三大运营商,实时更新,可查询实时在网状态高准确率-实时更新,准确率99.99%。

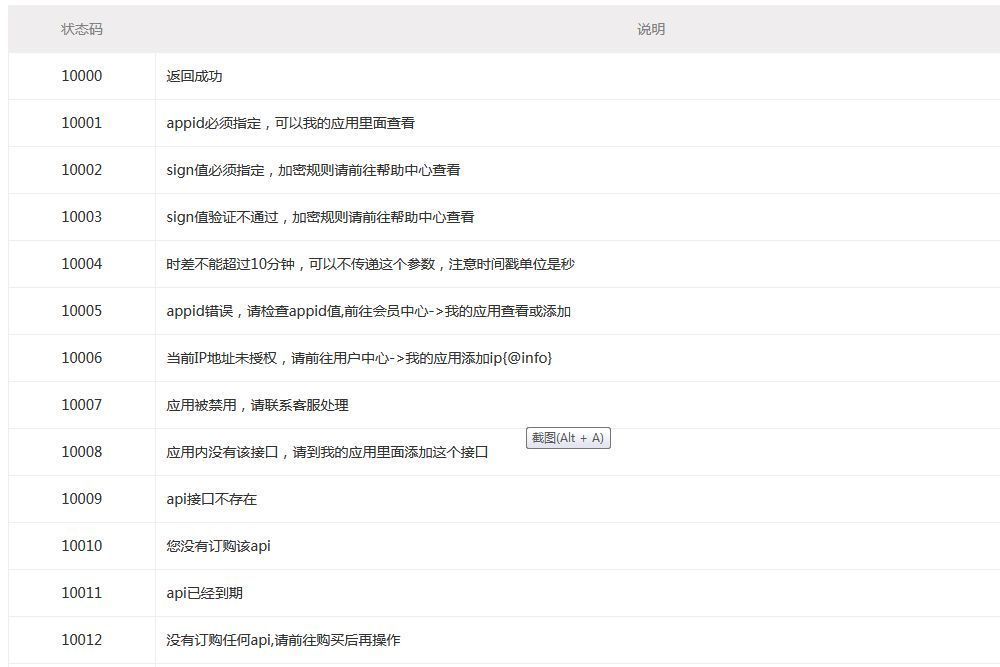
状态码说明:

ab4e04d95323dbb567ac0d8ccbd9e5b0.png

返回参数说明:

9be04211add1a8e22003c31bc0fea3cf.png

JSON返回示例:

ad9847bed590b418fea281471ce79bb3.png

如何查询?

企业需要手机在网时长查询功能,可选择【挖数据】平台这类正规授权api接口服务商,进入平台选择接入对应的数据接口进行实时查询,安全可靠,精准度高,对接5G速率。